新聞中心
最新資訊,第一掌控
防爆真空干燥箱原理
作者: 來源:http://m.tutuapparel.com 發布日期:2021.06.02 瀏覽次數:2657防爆真空干燥箱應用于化工、醫療、農業生產各領域的化驗室內,但防爆真空干燥箱又不同于其他一般防爆加熱恒溫干燥箱,所以廠家在購買時一定要了解其工作原理。
1 基本構造及工作原理
1.1 結構原理
防爆真空干燥箱外殼由鋼板沖壓折制、焊接成型,外殼表面采用高強度的靜電噴塑涂裝處理,漆膜光滑牢固。工作室采用碳鋼板或不銹鋼板折制焊接而成,工作室與外殼之間填充保溫棉。
工作室的內部放有試品擱板,用來放置各種試驗物品,工作室內每層隔板獨立加熱。門封條采用硅橡膠條密封。防爆真空干燥箱的抽空與充氣均由電磁閥控制,電器箱在箱體的左側或下部,電器箱的前面板上裝有真空表、溫控儀表及控制開關等,隔爆箱內裝有電器元件:空開、交流接觸器等。
1.2 工作原理
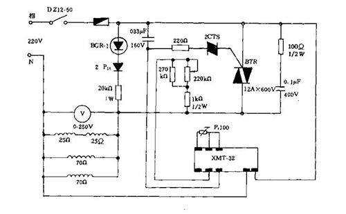
防爆真空干燥箱可使工作室內保持一定的真空度并采用智能型數字溫度調節儀進行溫度的設定、顯示與控制。
下圖為BGX-2080型防爆真空干燥箱的電路原理圖如圖,箱體的溫度控制采用了智能電腦溫控,溫度信號的采集用鉑電阻,經溫度控制器的放大與設定值進行比較得到PID控制信號,控制信號將控制可控硅的通斷,可控硅再控制加熱器加熱狀態,達到自動控溫的目的。
(防爆回路外加)
在設備工作過程中如果工作室內的溫度超過設定溫度值時,超溫保護動作,切斷加熱回路。

滬公網安備 31012002004077號